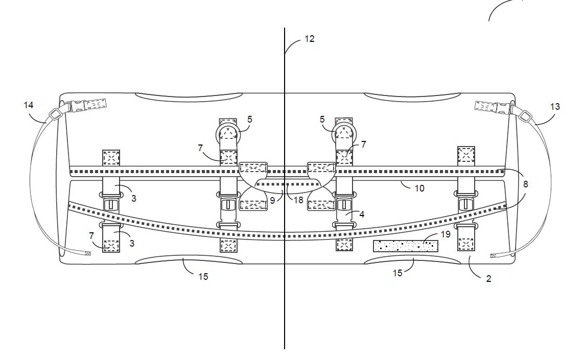
– Gegenstand meines Gebrauchsmusters ist ein Abseil- und Tragegeschirr, bei dessen Tragkörper die Abschlusskanten in Längsrichtung an den Schaftteilen mit ineinander schließenden Schnallen aneinander befestigt sind, dessen Anbringung nach dem Gebrauchsmuster und verstellbare Länge bei dem in dem Tragkörper befestigten Hund die perfekte Lastenverteilung im Falle eines Abseilens aus großer Höhe oder beim Tragen des Hundes auf dem Rücken gewährleisten.
– Zur Befestigung bzw. zum Abseilen von Menschen oder Tieren aus großer Höhe befinden sich zahllose Geräte im Umlauf. Bei der Arbeit von Rettungsteams ist es jedoch notwendig, den Hund und seinen Führer zusammen abseilen zu können, z. B. über einem Katastrophengebiet vom Hubschrauber aus bzw. im Falle eines Transports des Hundes auf dem Rücken als Rucksack. Der Hund wird in beiden Fällen auf dem Rücken des Führers oder am Brustkorb bzw. Bauch mit Hilfe verschiedener Riemen oder Geschirre befestigt. Diese Geschirre liegen hauptsächlich wegen der Lastenverteilung mit Befestigungsgurten oder dem Tragkörper auf einer großen Oberfläche auf dem Körper des Hundes auf und schmiegen sich eng an den Rumpf des Hundes.


