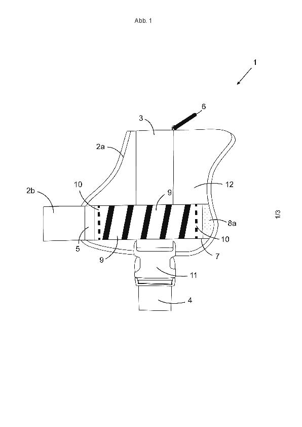
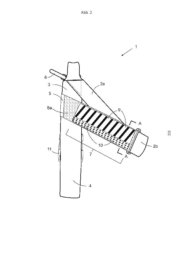
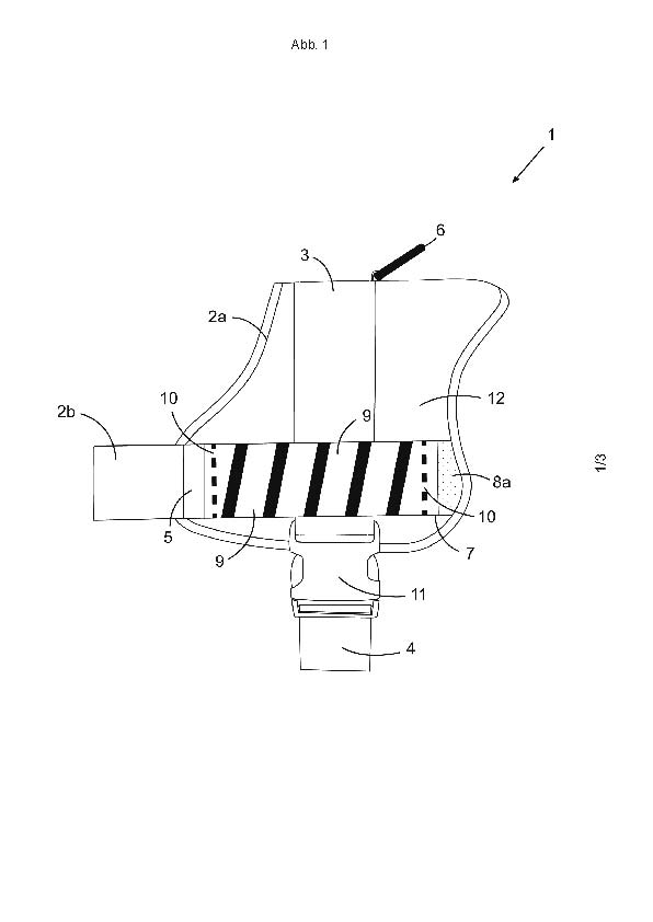
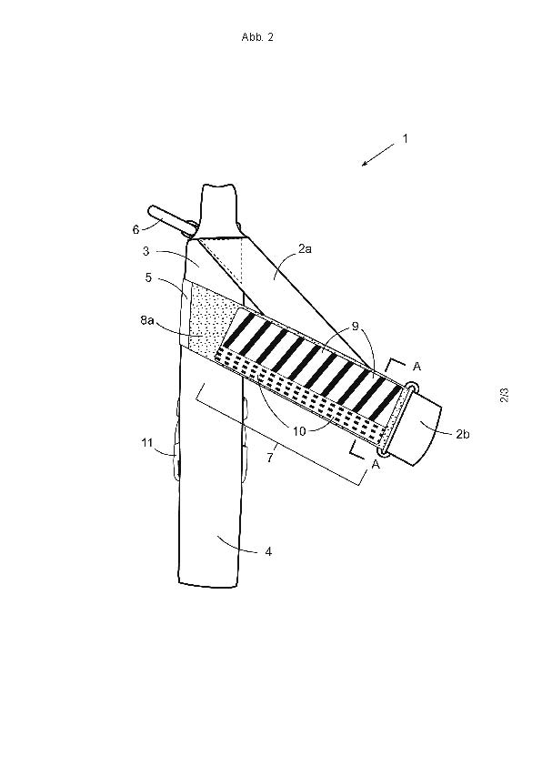
– Gegenstand des Gebrauchsmusters ist ein Hundegeschirr, das mit einem Element ausgestattet ist, welches unter den unterschiedlichsten Lichtverhältnissen, tagsüber oder auch im Dunkeln, seinen Träger, den Hund, gut sichtbar macht. So kann man sehen, ob der Hund an einem bestimmten Ort ist oder sich woanders aufhält.
– Diensthunde sind bei Verfolgung von Straftätern, bei der Aufklärung und als Suchhunde beim Katastrophenschutz, Hobbyhunde sind beim Geschicklichkeitssport, im Verkehr oder beim Davonlaufen einer besonderen Gefahr ausgesetzt. Das mit einem Sichtbarkeitselement nach diesem Gebrauchsmuster ausgerüstete Hundegeschirr unterstützt und erleichtert wesentlich die Verfolgung des Hundes.


