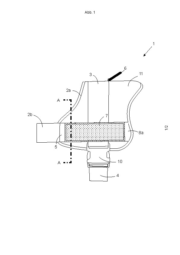
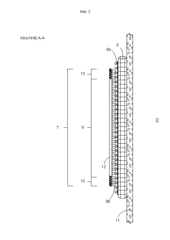
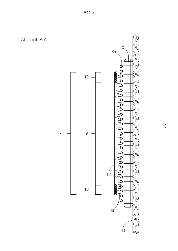
– Gegenstand des Gebrauchsmusters ist ein phosphoreszierendes Element, welches in erster Linie an Hundekleidung befestigt wird und unter unterschiedlichen Lichtverhältnissen, tagsüber oder auch bei Dunkelheit, den Träger gut sichtbar macht ebenso wie den das Hundegeschirr oder sonstige Hundekleidung tragenden Hund. So kann man sehen, ob der Hund an einem bestimmten Ort ist oder sich woanders aufhält.
– Diensthunde sind bei Verfolgung von Straftätern, bei der Aufklärung und als Suchhunde beim Katastrophenschutz, Hobbyhunde sind beim Geschicklichkeitssport, im Verkehr oder beim Davonlaufen einer besonderen Gefahr ausgesetzt. Das mit einem Sichtbarkeitselement nach diesem Gebrauchsmuster ausgerüstete Hundegeschirr unterstützt und erleichtert wesentlich die Verfolgung des Hundes.


