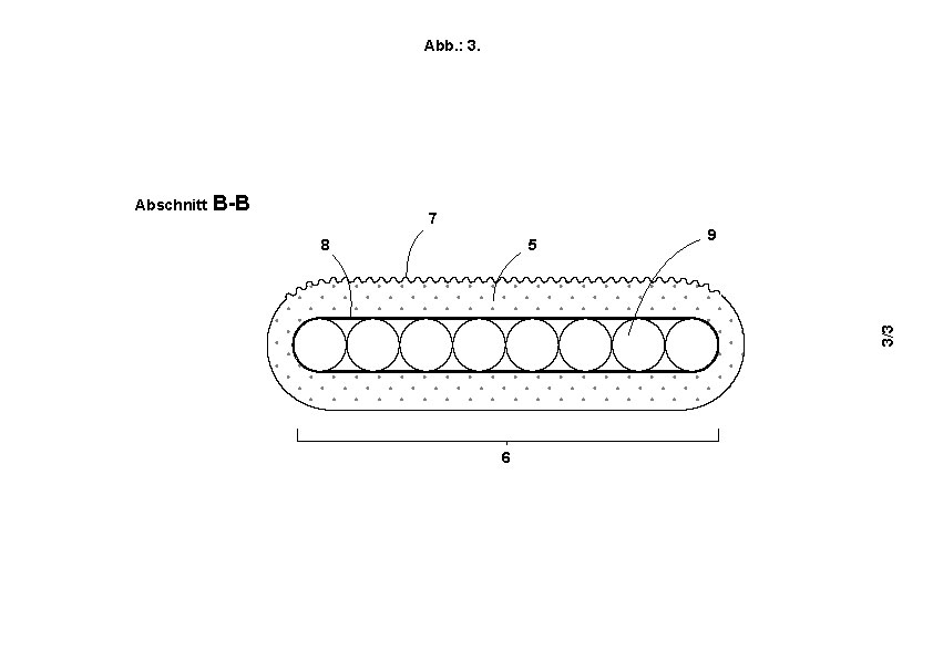
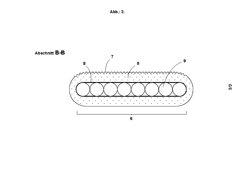
– Gegenstand des Gebrauchsmusters ist ein der Führung und dem Halten des Hundes dienendes phosphoreszierendes Hundehalsband, dessen Material ein aus synthetischen Fasern bestehender und vorteilhaft als Gurt ausgebildeter Stoff ist, der über einen die Oberfläche bedeckenden phosphoreszierenden Überzug verfügt.
– Diensthunde sind bei Verfolgung von Straftätern, bei der Aufklärung und als Suchhunde beim Katastrophenschutz, Hobbyhunde sind bei Hundesportarten, im Verkehr oder beim Davonlaufen einer besonderen Gefahr ausgesetzt. Ist der Hund mit dem phosphoreszierenden Hundehalsband gemäß dem Gebrauchsmuster ausgestattet, so ist es wesentlich leichter, ihn bei nächtlichen Sichtverhältnissen wahrzunehmen, ihm zu folgen.


