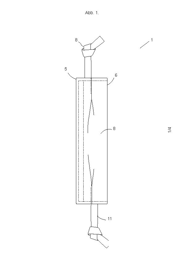
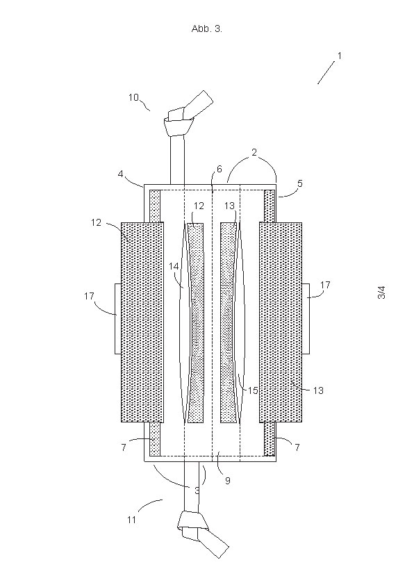
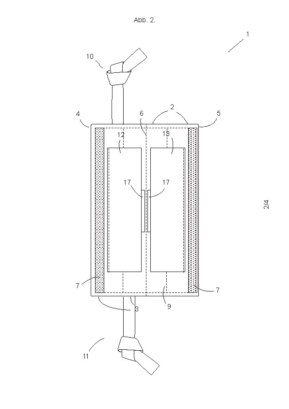
– Thema meines Gebrauchsmusters ist ein Apportiergegenstand für Hunde mit Griff, der über ein sich vorteilhaft daran anschließenden Griff sowie eine Innentasche bzw. mehrere Taschen verfügt und zur Unterbringung der für die Ausbildung von Suchhunden benötigten Zielgegenstände geeignet ist.
– In dem Geruchssinn des Hundes stecken enorme Möglichkeiten zum Nutzen der Menschheit, nach dem jetzigen Stand der Wissenschaft sind sie schier grenzenlos. Diese Vierbeiner haben bei der Suche nach Sprengstoff, Drogen oder Lebenden und Toten, ja sogar beim Erkennen von Tumorzellen oder bei der Vorhersage von epileptischen Anfällen greifbare Ergebnisse erreicht.



