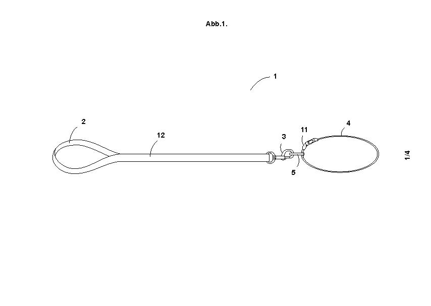
– Gegenstand des Gebrauchsmusters ist eine leuchtende Führungsleine für Hunde, die als Gurt oder als Seil aus einem aus synthetischen Fasern hergestellten Textilstoff gefertigt ist, auf dessen Oberflächenstruktur phosphoreszierenden Streifenelemente sowie Licht reflektierende Streifenelemente befestigt sind.
– Diensthunde sind bei Verfolgung von Straftätern, bei der Aufklärung und als Suchhunde beim Katastrophenschutz, Hobbyhunde sind beim Geschicklichkeitssport, im Verkehr oder wenn sie davonlaufen einer besonderen Gefahr ausgesetzt. Die Verfolgung eines mit leuchtender Führungsleine ausgestatteten Hundes laut dem Muster ist wesentlich einfacher.



