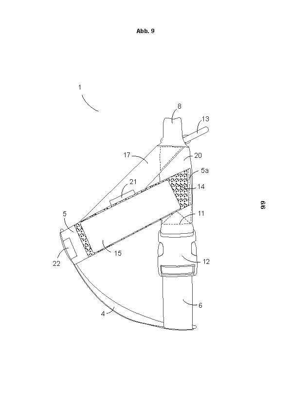
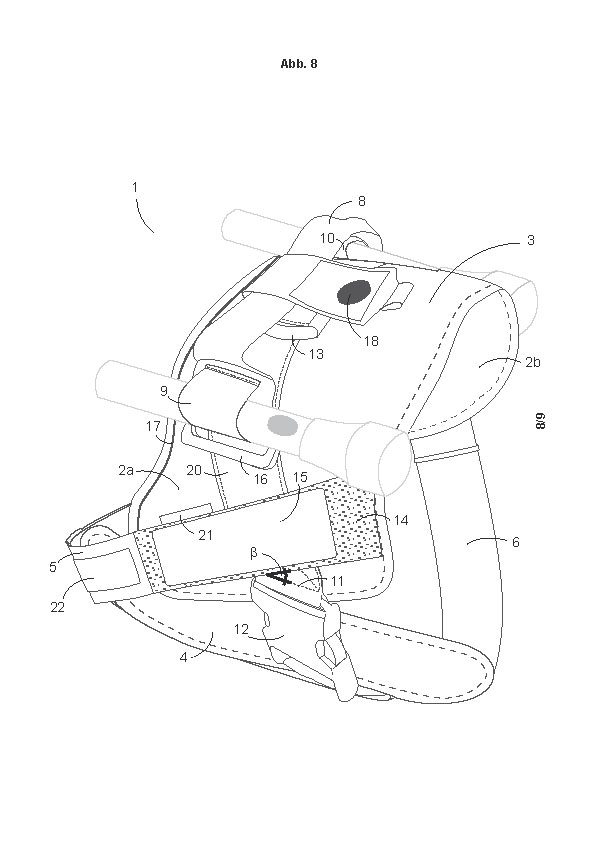
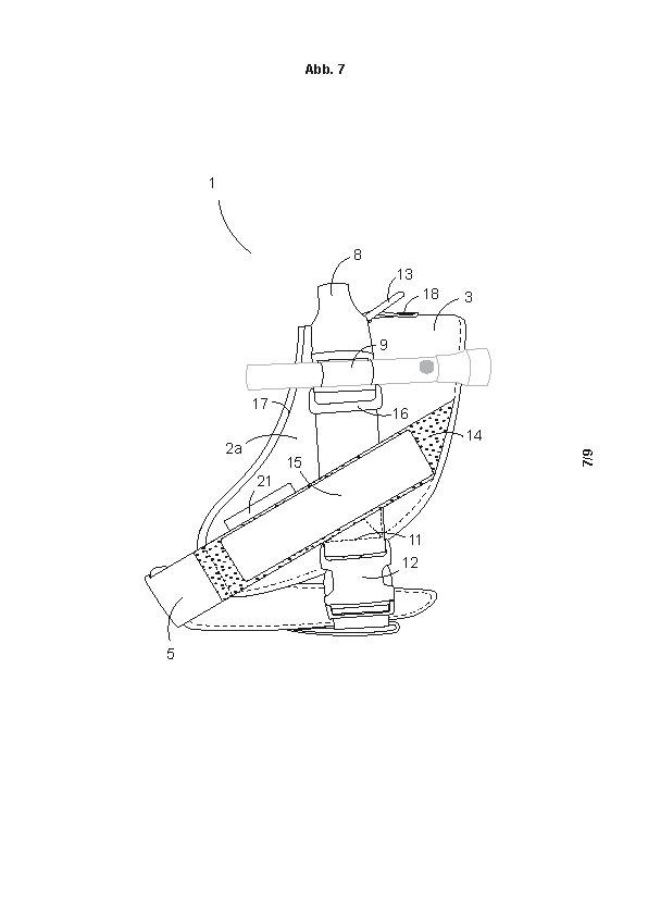
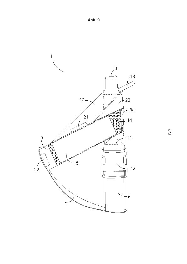
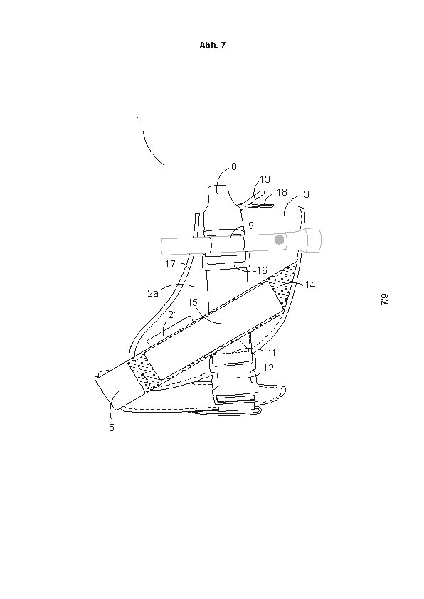
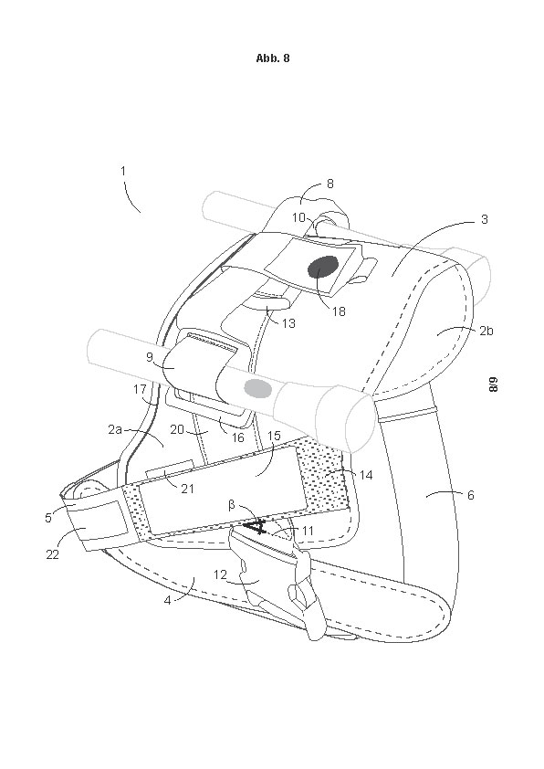
– Der Gegenstand des Gebrauchsmusters ist ein Hundegeschirr, bei dem sich der von den Befestigungsgurten eingeschlossene Winkel abhängig von der Größe des Hundes bzw. den ergonomischen und ästhetischen Anforderungen ändert. An den Befestigungsgurten können Licht reflektierende und in Dunkelheit leuchtende Sichtbarkeitselemente befestigt werden.
– Wie wir wissen, ist der Hund ein zur Bewegung geborenes Lebewesen. Für den gemeinsamen Alltag von Mensch und Hund, für den gemeinsamen Sport oder für die Ausbildung von Diensthunden benötigt man eine Menge Zubehör. So wurden auch die verschiedenen Hundegeschirre unentbehrlich. Aus der Praxis sind zahlreiche Lösungen bekannt, bei denen die Belastung zwischen dem Hals des Hundes und seinem Brustkorb geteilt ist (USA-Patent: 5,325,819, DE 202 19 55401).








