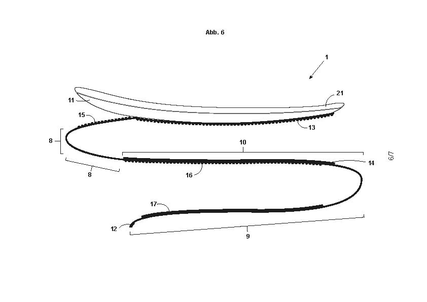
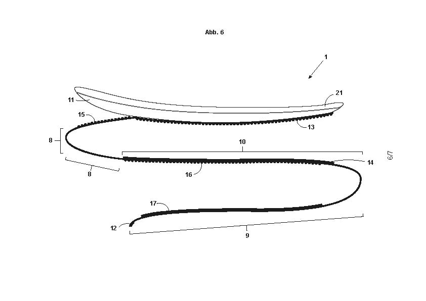
– Gegenstand des Gebrauchsmusters ist ein Druckverteilerelement, das am brustblattförmigen Hundegeschirr und an dem Gurt unter dem Brustkorb diese auspolsternd befestigt werden kann.
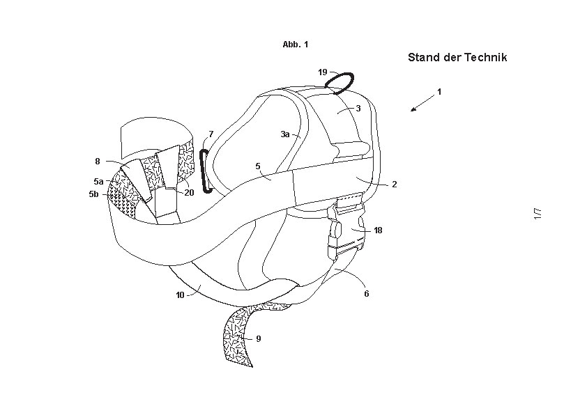
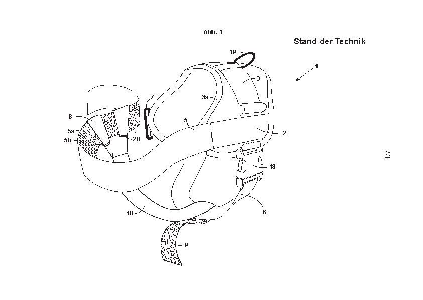
– Wie wir wissen, ist der Hund ein zur Bewegung geborenes Lebewesen. Für den gemeinsamen Alltag von Mensch und Hund, für den gemeinsamen Sport oder für die Ausbildung von Diensthunden benötigt man eine Menge Zubehör. Außerdem besteht die Funktion der Hundegeschirre darin, den Hund an der Leine zu führen, ihn zu halten, hochzuheben, im Verkehr zu helfen, des Weiteren beim Ziehen von Lasten und der Ausübung von Hundesportarten zu unterstützen, wobei die Befestigungsgurte vor dem Brustkorb des Hundes, um seinen Hals, unter seinem Brustkorb bzw. auf dem Rücken des Hundes verlaufen und aneinander befestigt sind.






