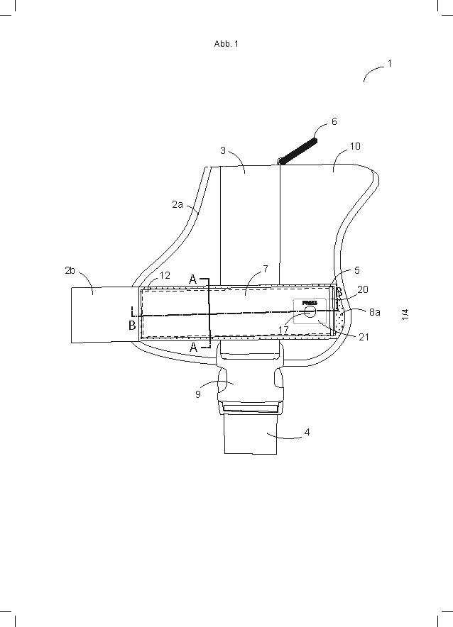
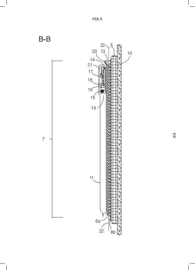
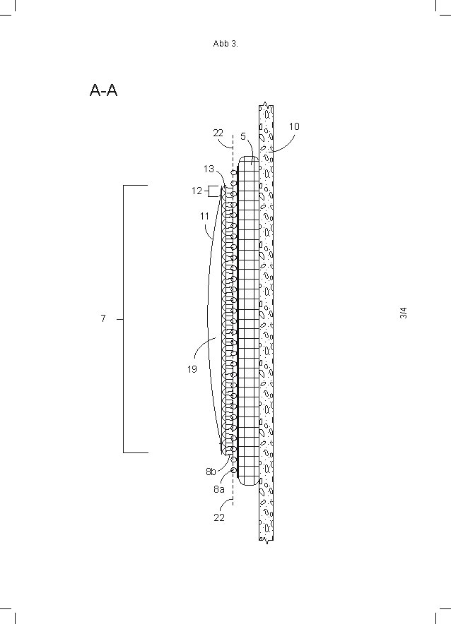
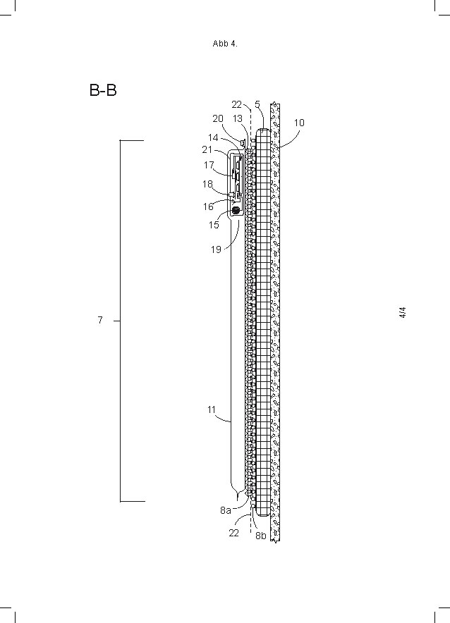
– Gegenstand des Gebrauchsmusters ist ein am Hundegeschirr fixierbarer Behälter mit GPS Ortungsgerät, der die abnehmbare Befestigung von verschiedenen bekannten GPS Ortungsgeräten am Hundegeschirr oder Halsband gewährleistet bzw. die Ortung der Bewegungen des Hundes, seiner Bewegungsgeschwindigkeit mit Handy oder mit einem anderen Ortungssystem ermöglicht.
– Diensthunde sind bei Verfolgung von Straftätern, bei der Aufklärung und als Suchhunde beim Katastrophenschutz, Hobbyhunde sind beim Geschicklichkeitssport, im Verkehr oder beim Davonlaufen einer besonderen Gefahr ausgesetzt. Das mit einem GPS Ortungsgerät nach diesem Gebrauchsmuster versehene Hundegeschirr unterstützt und erleichtert ihre Verfolgung wesentlich.



