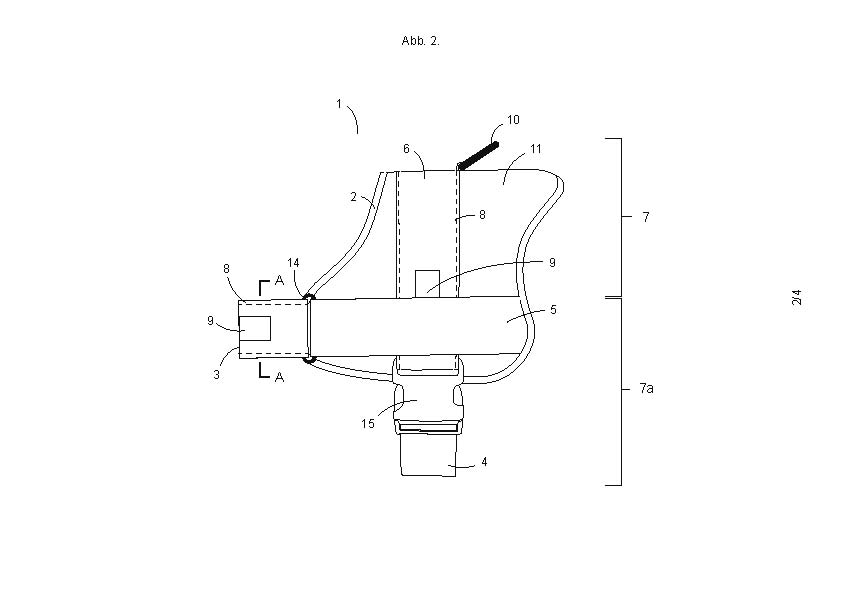
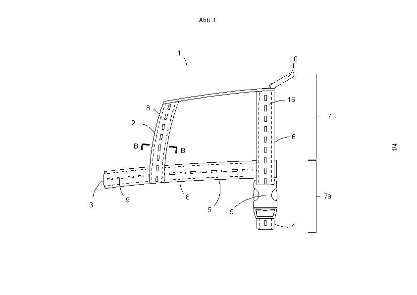
– Gegenstand meines Gebrauchsmusters ist ein Gurtgeschirr für Hunde, dessen Material ein mit synthetischen Fasern verstärkter Stoff ist, auf dem Licht reflektierende und phosphoreszierende Streifenelemente angebracht sind.
– Diensthunde sind bei Verfolgung von Straftätern, bei der Aufklärung und als Suchhunde beim Katastrophenschutz, Hobbyhunde sind beim Geschicklichkeitssport, im Verkehr oder beim Davonlaufen einer besonderen Gefahr ausgesetzt. Das mit Sichtbarkeitselementen ausgerüstete Gurtgeschirr laut Muster unterstützt und erleichtert wesentlich die Verfolgung des Hundes, wobei es das auf das Geschirr fallende Licht reflektiert oder speichert und daraufhin nachleuchtet.



